

| 序號 | 名稱 | 規格 | 每臺數量 | 片數 | L | L1 | 重量 |
| 1 | 蓋 | φ615×290 | 1 | 5 | 1120 | 1060 | 315 |
| 2 | 進料口 | DG100 | 1 | 6 | 1280 | 1220 | 370 |
| 3 | 出水口 | DG50 0.6PN | 1 | 7 | 1440 | 1380 | 425 |
| 4 | 大法蘭 | φ690上下 | 2 | 8 | 1600 | 1540 | 480 |
| 5 | 吊緊螺絲 | M16 | 16 | 9 | 1760 | 1700 | 535 |
| 6 | 彎管 | 每片 | 1 | 10 | 1920 | 1860 | 590 |
| 7 | 橡膠四氟墊 | φ590×530每片 | 1 | 11 | 2080 | 2020 | 645 |
| 8 | 中片 | φ615×150 | 12 | 2240 | 2180 | 700 | |
| 9 | 底 | φ615×350 | 1 | ||||
| 10 | 出料口 | Dg100 | 1 | ||||
| 11 | 進水口 | Dg50 0.6PN | 1 | ||||
| 12 | 腳 | 3 |

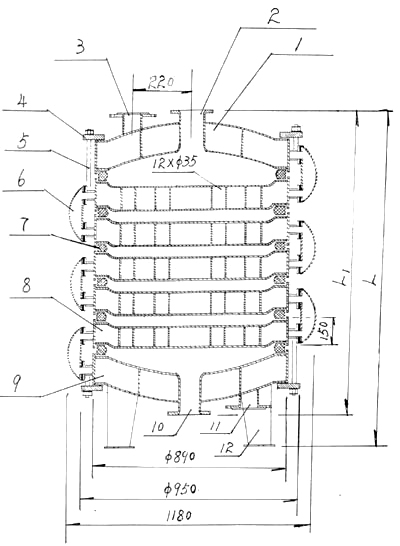
| 序號 | 名稱 | 規格 | 每臺數量 | 片數 | L | L1 | 重量 |
| 1 | 蓋 | φ890×310 | 1 | 5 | 1190 | 1100 | 615 |
| 2 | 進料口 | DG100 | 1 | 6 | 1350 | 1260 | 720 |
| 3 | 出水口 | DG50 0.6PN | 1 | 7 | 1510 | 1420 | 825 |
| 4 | 大法蘭 | φ950上下 | 2 | 8 | 1670 | 1580 | 930 |
| 5 | 吊緊螺絲 | M16 | 24 | 9 | 1830 | 1740 | 1035 |
| 6 | 彎管 | 每片 | 1 | 10 | 1990 | 1900 | 1140 |
| 7 | 橡膠四氟墊 | φ860×φ800每片 | 1 | 11 | 2150 | 2060 | 1245 |
| 8 | 中片 | φ890×150 | 1 | 12 | 2310 | 2220 | 1350 |
| 9 | 底 | φ890×400 | 1 | ||||
| 10 | 出料口 | Dg100 | 1 | ||||
| 11 | 進水口 | Dg50 0.6PN | 1 | ||||
| 12 | 腳 | 3 |
相關文檔